Начало и конец обмотки электродвигателя
Содержание
- 1 Двигатели постоянного тока
- 2 Практические измерения
- 3 Проверка пускового конденсатора
- 4 Определение рабочей и пусковой обмоток двигателя на 220 Вольт
- 5 Включение трехфазного электродвигателя в однофазную сеть без перемотки
- 6 Схема подключения обмоток электродвигателя звездой
- 7 Начала и концы обмоток
- 8 Определение мощности по габаритам
- 9 Советы по трехфазным двигателям: как оценивать температуру обмоток
- 10 Как найти начала и концы фаз обмотки электродвигателя
- 11 Важные характеристики начала и конца обмоток трансформаторов
Двигатели постоянного тока
Кроме машин переменного напряжения есть электродвигатели, подключающиеся к сети постоянного тока. Число оборотов таких устройств рассчитывается по совершенно другим формулам.
Номинальная скорость вращения
Число оборотов аппарата постоянного тока рассчитывается по формуле на рисунке ниже, где:
- n – число оборотов в минуту,
- U – напряжение сети,
- Rя и Iя – сопротивление и ток якоря,
- Ce – константа двигателя (зависит от типа электромашины),
- Ф – магнитное поле статора.
Эти данные соответствуют номинальным значениям параметров электромашины, напряжению на обмотке возбуждения и якоре или вращательному моменту на валу двигателя. Их изменение позволяет регулировать частоту вращения. Определить магнитный поток в реальном двигателе очень сложно, поэтому для расчетов пользуются силой тока, протекающего через обмотку возбуждения или напряжения на якоре.
Число оборотов коллекторных электродвигателей переменного тока можно найти по той же формуле.
Регулировка скорости
Регулировка скорости электродвигателя, работающего от сети постоянного тока, возможна в широких пределах. Она возможна в двух диапазонах:
- Вверх от номинальной. Для этого уменьшается магнитный поток при помощи добавочных сопротивлений или регулятора напряжения;
- Вниз от номинальной. Для этого необходимо уменьшить напряжение на якоре электромотора или включить последовательно с ним сопротивление. Кроме снижения числа оборотов это делается при запуске электродвигателя.
Знание того, по каким формулам вычисляется скорость вращения электродвигателя, необходимо при проектировании и наладке оборудования.
Практические измерения
Самый доступный способ – проверка показаний бытового счетчика электроэнергии. Сначала следует отключить абсолютно все бытовые приборы и выключить свет во всех помещениях, поскольку даже горящая лампочка на 40Вт будет искажать показания. Проследите, чтобы счетчик не крутился или индикатор не мигал (в зависимости от его модели). Вам повезло, если у вас счетчик «Меркурий» — он показывает величину нагрузки в кВт, поэтому от вас потребуется только включить двигатель на 5 минут на полную мощность и проверить показания.
Индукционные счетчики ведут учет в кВт/ч. Запишите показания до включения мотора, дайте ему поработать ровно 10 минут (лучше воспользоваться секундомером). Снимите новые показания счетчика и путем вычитания узнайте разницу. Умножьте эту цифру на 6. Полученный результат отображает мощность двигателя в кВт.
Если двигатель маломощный, вычислить параметры будет несколько сложнее. Выясните, сколько оборотов (или импульсов) равно 1кВт/ч – информацию вы найдете на счетчике. Допустим, это 1600 оборотов (или вспышек индикатора). Если при работающем двигателе счетчик делает 20 оборотов в минуту, умножьте эту цифру на 60 (количество минут в часу). Получается 1200 оборотов в час. Разделите 1600 на 1200 (1.3) – это и есть мощность двигателя. Результат тем точнее, чем дольше вы измеряете показания, но небольшая погрешность все равно присутствует.
Определение по таблицам
Как узнать мощность электродвигателя по диаметру вала и другим показателям? В интернете нетрудно найти технические таблицы, с помощью которых можно узнать тип мотора и, соответственно, его мощность. Вам потребуется снять следующие параметры:
- диаметр вала;
- частота его вращения или число полюсов;
- крепежные размеры;
- диаметр фланца (если двигатель фланцевый);
- высота до центра вала;
- длина мотора (без выступающей части вала);
- расстояние до оси.
Далее – вопрос времени и внимательности. Согласитесь, надежнее измерить детали и узнать точный, без погрешностей результат. В сети есть параметры абсолютно всех, даже очень старых моторов.
Вычисление по количеству оборотов в минуту
Определите визуально количество обмоток статора. Используйте тестер или миллиамперметр для того чтобы узнать число полюсов – при этом не требуется разбирать мотор. Подключите прибор к одной из обмоток и равномерно вращайте вал. Количество отклонений стрелки – это число полюсов. Учтите, что частота вращения вала при данном методе вычисления несколько ниже полученного результата.
Определение по габаритам
Еще один способ – проведение замеров и вычислений. Многие из тех, кто интересуется, как узнать мощность трехфазного двигателя, предпочитают именно его. Вам понадобятся следующие данные:
Диаметр сердечника в сантиметрах (D). Он измеряется по внутренней части статора. Также необходима длина сердечника с учетом отверстий вентиляции.
Частота валового вращения (n) и частота сети (f).
Через них вычислите показатель полюсного деления. D умножьте на n и на число Пи – назовем это показание А. 120 умножьте на f – это В. Разделите А на В.
Как видите, чтобы подсчитать значение, достаточно вспомнить школьный курс математики.
Определение по мощности, выдаваемой двигателем
Здесь опять придется вооружиться калькулятором. Узнайте:
- число оборотов вала в секунду (А);
- показатель тяглового усилия мотора (В);
- радиус вала (С) – это можно сделать с помощью штангенциркуля.
Определение мощности электродвигателя в Вт осуществляется по следующей формуле: Ах6.28хВхС.
Для чего необходимо знать мощность двигателя
Из всех технических характеристик электродвигателя (КПД, номинальный рабочий ток, частота вращения и т.д.) самая значимая – мощность. Зная главные данные, вы сможете:
- Подобрать подходящие по номиналам тепловое реле и автомат.
- Определить пропускную способность и сечение электрических кабелей для подключения агрегата.
- Эксплуатировать двигатель согласно его параметрам, не допуская перегрузок.
Мы описали, как замерить мощность электродвигателя разными способами. Используйте тот, который в вашем случае будет оптимальным. Применяя любой из методов, вы подберете агрегат, который будет лучшим образом отвечать вашим требованиям. Но самый эффективный вариант, экономящий ваше время и избавляющий вас от необходимости искать информацию и проводить замеры и расчеты – это сохранить технический паспорт в надежном месте и следить за тем, чтобы шильдик с данными не потерялся.
Проверка пускового конденсатора
Уверенный запуск электродвигателя происходит, когда в момент включения питания параллельно рабочей емкости кратковременно подключается пусковой конденсатор. Он служит для создания на старте кругового магнитного поля, после начала вращения ротора отключается. Пусковой конденсатор легко проверить мультиметром, даже если в нем нет режима измерения емкости:
- Конденсатор, предварительно разрядив замыканием выводов, отсоединяют от схемы электродвигателя, тщательно осматривают. Если есть трещины, вздутие корпуса, другие видимые повреждения — емкость можно менять на новую без проверки.
- Выставить на тестере режим измерения сопротивления на пределе 2000 килоом, проверить работоспособность кратковременным соединением измерительных щупов.
- Щупы соединить с выводами конденсатора. Разряженный, он начнет быстро заряжаться от щупов прибора. Емкость его относительно велика, много больше, чем у рабочего конденсатора. Индикатор мультиметра сначала покажет маленькое сопротивление, которое по мере заряжания емкости будет увеличиваться, потому что зарядный ток постепенно уменьшается. По окончании процесса мультиметр покажет бесконечно большое сопротивление, обрыв.
- Перевернуть полярность подключения щупов к конденсатору, увидеть рост сопротивление, с индикацией обрыва в конце измерения. Этим подтвердится, что конденсатор исправен.
- Проверить пробой пластин на корпус конденсатора, если он металлический, измеряя сопротивление между корпусом детали и каждым из выводов поочередно.
Индикатор тестера должен показать обрыв. Другие значения, это признак неисправности.
Определение рабочей и пусковой обмоток двигателя на 220 Вольт
Часто возникает необходимость определения рабочей и пусковой обмотки в однофазном двигателе. Это происходит по причине утраты надписи или после ремонта.
У двигателя имеются четыре провода. Методика проверки заключается в следующем:
- Визуально осматриваем провода. Если провода имеют разное сечение, то с меньшим сечением будет пусковая;
- Однако, стоит перепроверить. Замеряем сопротивление. Обмотка, имеющая меньшее значение будет рабочей, а вторая пусковая.
- Производим маркировку проводников.
Схема замеров показана на рисунке снизу.
При наличии обмоток с одинаковым сопротивлением, любую обмотку можно использовать как рабочую или пусковую. Направление вращение меняют заменой местами обмоток.
Часто встречаются однофазные электродвигатели с тремя проводами. В этом случае тестером замеряют сопротивления. Получаем значения, например, 52 Ом, 18 Ом и 34 Ома. Это значит, что обмотка, имеющая меньшее значение (18 Ом) является рабочей, а вторая 34 Ома – пусковая. 52 Ома — суммарное сопротивление обеих катушек.
На рисунке снизу представлена схема двигателя с тремя выводами:
Включение трехфазного электродвигателя в однофазную сеть без перемотки
Трехфазный асинхронный двигатель может работать от однофазной сети:
— как однофазный с пусковым элементом;
— как однофазный конденсаторный с постоянно включенной рабочей емкостью.
Применение двигателя в качестве конденсаторного предпочтительнее. Схемы включения в однофазную сеть трехфазных двигателей с тремя выводами показаны на рис. 19, с шестью выводами на рис. 20.
Рис. 19. Схемы включения в однофазную сеть трехфазных двигателей с тремя выводами: а — схема с пусковым сопротивлением; б, в — схемы с рабочей емкостью
Рис. 20. Схемы включения в однофазную сеть трехфазных двигателей с шестью выводами: а — схема с пусковым сопротивлением; б, в — схемы с рабочей емкостью
Если принять за % мощность трехфазного двигателя, обозначенную на его щитке, то:
— при однофазном включении двигатель может развить 50–70 % этой мощности;
— при использовании в качестве конденсаторного двигатель может развить 70–85 % и более.
Примечание. Существенное преимущество конденсаторного двигателя заключается в том, что отсутствует специальное пусковое устройство, которое необходимо при однофазной схеме для отключения пусковой обмотки после разгона двигателя.
Схему включения на рис. 19 и рис. 20 надо выбирать с учетом напряжения сети и номинального напряжения двигателя. Например, при трех выведенных концах обмотки статора (рис. 19) двигатель может быть использован в сети, напряжение которой равно номинальному напряжению двигателя.
При шести выводных концах обмотки двигатель имеет два номинальных напряжения: 127/220 В, 220/380 В.
Если напряжение сети равно большему номинальному напряжению двигателя, т. е. Uc = 220 В при номинальном напряжении 127/220 В или Uс = 380 В при номинальном напряжении 220/380 В и т. д., то надо пользоваться схемами, приведенными на рис. 19, а, б.
При напряжении сети равно меньшему номинальному напряжению двигателя, следует применять схему, показанную на рис. 19, в.
Совет. В этом случае при однофазном включении значительно уменьшается мощность двигателя, поэтому целесообразно применять схемы с рабочей емкостью.
Рабочая емкость Ср (мкФ) для каждой схемы должна иметь определенное значение и может быть подсчитана, исходя из напряжения однофазной сети Uc и номинального тока Iф в фазе трехфазного двигателя:
Ср = kIф/Uc,
где k — коэффициент, зависящий от схемы включения.
При частоте 50 Гц можно принять для схем:
— по рис. 19, б и рис. 20, б — k = 2800;
— по рис. 19, в — k = 4800;
— по рис. 20, в — k = 1600.
Напряжение на конденсаторе Uk также зависит от схемы включения и напряжения сети для схем:
— по рис. 19, б, в — Uk = Uc;
— по рис. 20, б — Uk = 1,15Uc;
— по рис. 20, а — Uk= 2Uc.
Примечание. Номинальное напряжение конденсатора должно быть равно или несколько больше расчетного значения.
Внимание. Необходимо помнить, что конденсаторы после отключения длительное время сохраняют напряжение на своих зажимах и создают при прикосновении к ним опасность поражения человека электрическим током
Опасность поражения тем выше, чем больше емкость и выше напряжение на включенном в схему конденсаторе. Поэтому параллельно конденсатору следует установить резистор сопротивлением порядка –510 кОм, для того, чтобы конденсатор смог быстро разрядиться.
При ремонте или отладке двигателя необходимо после каждого отключения конденсатор разрядить. Для защиты от случайного прикосновения в процессе эксплуатации двигателя конденсаторы должны быть жестко закреплены и ограждены.
Пусковое сопротивление Rп определяют опытным путем, используя регулируемое сопротивление (реостат).
Если необходимо получить увеличенный момент при пуске двигателя, то параллельно рабочему конденсатору включают пусковой. Его емкость подсчитывают по формуле:
Сп = 2,5–3Ср,
где Ср — емкость рабочего конденсатора.
Пусковой момент при этом получается близким к номинальному моменту трехфазного двигателя.
Схема подключения обмоток электродвигателя звездой
Вот так выглядит борно электродвигателя и здесь обмотки соединены звездой. Т.е. концы обмоток соединены в одной точке.
Мои коллеги-инженеры сталкивались с такими случаями, когда
перемычки кидали на начало обмоток, куда подключался питающий кабель. Сразу
возникало короткое замыкание.
Фазное и линейное напряжение при соединении обмоток в звезду разное, а ток одинаковый.
А теперь давайте найдём полную мощность, развиваемую электродвигателем.
Полная мощность в трёхфазной системе равна сумме полных мощностей трёх фаз:
И теперь формула полной мощности будет выглядеть вот так:
А чтобы найти активную мощность применим следующую формулу:
где cosф- коэффициент мощности, n- КПД
Из формулы активной мощности выразим ток:
где cosф- коэффициент мощности, n- КПД
Начала и концы обмоток
Обмотки могут навиваться в двух направлениях: по часовой стрелке и против часовой стрелки 1. Как они фактически навиты, не видно, но тем не менее при помощи простого опыта легко определить, какие выводы являются их началами, какие – концами.
Допустим, что обмотки навиты в одном, безразлично каком, направлении (рисунок 2, а). Переменный магнитный поток Ф индуктирует в каждой из них электродвижущие силы (э. д. с.) E1 и E2, пропорциональные соответственно числам витков. Так как направление намотки одинаково, то нетрудно себе представить, что одна обмотка как бы является продолжением другой и, стало быть, в каждый момент направления э. д. с. в них совпадают. Это значит, что верхние их выводы A и a или нижние X и x имеют потенциал одного и того же знака – положительный или отрицательный, что и обозначено на рисунке 2, а знаками + и –.
Рисунок 2. Определение взаимного направления намотки двух обмоток, расположенных на одном стержне.
Ясно, что при различном направлении намотки (рисунок 2, б) направления э. д. с. E1 и E2 прямо противоположны, то есть сдвинуты на 180°.
Отсюда следует практический вывод. Чтобы определить взаимное направление намотки двух обмоток, их соединяют между собой как показано на рисунке 2, в, а к свободным концам подводят переменное напряжение. Для предотвращения чрезмерно большого тока в схему введено добавочное сопротивление R. Измеряют общее напряжение UAa между выводами A и a, напряжение UAX на одной обмотке и напряжение на другой обмотке Uax и сравнивают их.
| Рисунок 3. Меры безопасности при разметке зажимов. |
Если UAa равно разности UAX и Uax, то обмотки навиты в одном направлении в их э. д. с. изображаются векторной диаграммой на рисунке 2, г, например UAa = 40 В, UAX = 100 В, Uax = 60 В.
Если UAa равно сумме UAX н Uax, то обмотки навиты в разных направлениях, например UAX = 100 В; Uax = 60 В; UAa = 160 В. Векторная диаграмма дана на рисунке 2, д.
Обращается внимание на необходимость подводить напряжение к свободным выводам обеих обмоток (A и a, если X и x соединены; X и x, если A и a соединены; A и X, если a и x соединены; a и x, если A и X соединены и так далее) и на недопустимость подводить напряжение только к одной обмотке 2. Почему? Потому что, подводя напряжение к одной обмотке, мы рискуем получить на других обмотках высокое напряжение
Рассмотрим пример. На рисунке 3 показано распределение напряжений при определении направления обмоток трансформатора с обмоткой низшего напряжения из 50 витков и с обмоткой высшего напряжения из 1500 витков.
Если напряжение 100 В подведено к свободным выводам, а обмотки навиты в одном направлении (рисунок 3, а), то при испытании напряжения будут равны примерно 3,3; 96,7 и 100 В. Если обмотки навиты в разных направлениях, напряжения будут примерно 3,4; 103,4 и 100 В (рисунок 3, б).
Если же напряжение 100 В подведено к обмотке низшего напряжения (рисунок 3, в), то между выводами обмотки высшего напряжения получится 3000 В, что, безусловно, опасно.
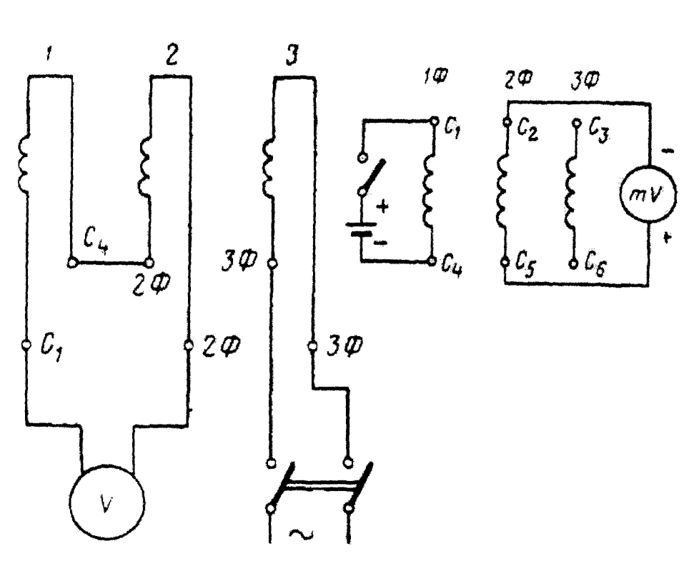
На рисунке 4, а показана схема определения взаимного направления обмоток с помощью постоянного тока. К обмотке, имеющей больше витков (по соображениям безопасности), подводят напряжение 2 – 12 В от батареи. При включении рубильника Р следят за отклонениями гальванометров Г1 и Г2. Если их стрелки отклоняются в одну и ту же сторону, значит, направление обмоток одинаково. Отклонения в разные стороны указывают на разные направления обмоток.
Рисунок 4. Определение взаимного направления обмоток с помощью постоянного тока.
Постоянным током удобно пользоваться для определения начал и концов обмоток электродвигателей. С этой целью предварительно определяют принадлежность выводов к той или другой обмотке.
Затем выводы одной обмотки условно обозначают 1Н (начало) и 1К (конец) и присоединяют к ним через рубильник Р источник постоянного тока напряжением 2 В, как показано на рисунке 4, б. К выводам другой обмотки присоединяют милливольтметр mV.
Если к условному началу 1Н присоединен плюс источника тока и если стрелка милливольтметра при отключении рубильника отклоняется вправо, то вывод обмотки, к которому присоединен зажим милливольтметра » + «, также является ее началом и должен быть обозначен 2Н.
Однако если к условному началу 1Н присоединен плюс источника постоянного тока, но стрелка гальванометра при отключении рубильника отклоняется влево, то вывод обмотки, к которому присоединен зажим милливольтметра «+», является ее концом и должен быть обозначен 2К. Этот случай на рисунке 4, б не рассматривается.
Определив начало 2Н и конец 2К второй обмотки, тем же способом определяют начало 3Н и конец 3К.
1 Иногда говорят «левая намотка» и «правая намотка».2 На специальные испытания, проводимые персоналом электролабораторий, эти ограничения не распространяются.
Определение мощности по габаритам
Итак, частоту вращения мы узнали, переходим к самой мощности. Для этого вам нужно измерить габаритные размеры движка.
Что сюда входит?
диаметр вала
длина вылета вала
его высота над лапами (высота оси вращения)
расстояние между лапами (длина, ширина)
Если у вас движок фланцевый, в этом случае необходимо сделать:
замер диаметра фланца
а также диаметр самих отверстий на фланце
Для более точных замеров используйте штангенциркуль, а не линейку. Получив и записав результаты, переходим к заводским табличным данным. Вот эти параметры:
Таблица 1 – Определение мощности по валу двигателя
Таблица 2 – Определение мощности по расстоянию между лапами
Таблица 3 – Определение мощности по диаметру фланца
Сравнив полученные цифры с табличными данными, вы без какого-либо подключения к эл.сети узнаете мощность вашего движка.
Советы по трехфазным двигателям: как оценивать температуру обмоток
Советы по трехфазным двигателям: как оценивать температуры обмоток
Редакция EP | 17 декабря 2015 г.
Прежде чем вытаскивать устройство, которое может быть горячим, найдите время, чтобы подтвердить свои подозрения.
Майк Хауэлл, Ассоциация обслуживания электрооборудования (EASA)
Подозреваете, что трехфазный двигатель перегрелся? Если вы правы, устройство либо производит больше тепла, чем рассчитано, либо меньше рассеивает. При избыточном нагреве основными проблемами, как правило, являются исправность смазки подшипников и системы изоляции обмотки.
Прежде чем нести расходы по вытягиванию двигателя, оцените температуру его обмотки. Вот как.
После определения температуры обмотки подозрительного двигателя сравните ее с температурой, указанной на паспортной табличке агрегата (допустимой). Часто указывается только класс изоляции. Для электродвигателей обычно используется класс B, F или H. У двигателей, температура которых приближается или превышает пределы своего класса, могут возникнуть проблемы.
Измерьте ток статора всех трех фаз.
Сравните эти показания с номиналами, указанными на паспортной табличке, и, если возможно, с текущими показаниями любых родственных двигателей в том же приложении. Тепло, выделяемое обмоткой статора, пропорционально сопротивлению обмотки и квадрату тока. Дополнительный ток равен дополнительному теплу.
Температура обмотки не может быть правильно оценена на основе температуры внешней рамы.
Как найти начала и концы фаз обмотки электродвигателя
Главная→Электрика на производстве→Как найти начала и концы фаз обмотки электродвигателя
Опубликовано 27.04.2013 автором elemanАвгуст 14, 2019
Набросок обмоток электродвигателя
1-ый метод -нам пригодится рядовая плоская батарейка на 4,5 В и комбинированный измерительный прибор (тестер) либо миллиамперметр неизменного тока.
Условно помечаем один из выводов обмотки как начало (Н), а 2-ой как конец (К).Подключаем тестер на пределе единицы либо 10-ки миллиампер неизменного тока к хоть какой другой паре проводов, принадлежащей другой обмотке.Минус батарейки присоединяем к нашему условному концу (К) первой обмотки. Касаясь пару раз начала первой обмотки плюсом батарейки, смотрим за показаниями тестера. Нас интересует отклоненение стрелки прибора в момент замыкания цепи «батарейка – обмотка». Если стрелка прибора отклоняется в минус, то переключаем полярность присоединения прибора ко 2-ой обмотке, и опять пару раз замыкаем батарейку на первую обмотку. Сейчас отличия прибора в момент замыкания должны быть в положительную сторону. Тот вывод обмотки, который соединен с плюсом тестера будет началом 2-ой обмотки, а с минусом – концом.
2-ой метод – две любые “отысканные” фазные обмотки, соедининяем поочередно, и к получившимся свободым концам подключаем 220в, а к оставшейся третьей обмотке подключаем контрольную лампу, и краткосрочно подаем 220в- запоминаем как у нас пылает лампа. Сейчас обмотки которые у нас соедены поочередно меняем подключение, другими словами концы 2-ой меняем местами и снова подаем питание, лампочка должна засветиться по другому либо ярче либо ослабевай. Если загорелась ярче, то обмотки у нас подключись поочередно, это означает идут в таком порядке начало – конец – начао – конец, так их и подписываем. Мы уже знаем верно две обмотки. Сейчас к неизвесной подключаем всякую из узнаваемых и снова уже к этой паре подводим 220 в, а к свободной лампу. Снова включаем питание и сейчас сходу будет видно по яркости накала, как включены обмотки, наносим надписи.
В приведенном примере можно заместо контрольной лампочки применить вольтметр и ориентироваться по отклонению стрелки прибора.
Л. Рыженков
Рубрика: Электрика на производстве Постоянная ссылка
Важные характеристики начала и конца обмоток трансформаторов
При проектировании и эксплуатации трансформаторов необходимо учитывать не только главные параметры и характеристики, но и такие моменты, как начало и конец обмоток. От правильной расстановки этих точек зависит работоспособность и эффективность трансформатора. Рассмотрим основные важные характеристики начала и конца обмоток трансформаторов.
1. Напряжение начала обмотки (UН)
Напряжение начала обмотки является одной из важных характеристик трансформатора. Оно определяет напряжение на первой обмотке трансформатора при максимально допустимом токе. Напряжение начала обмотки выбирается с учетом максимальной величины напряжения, которую должна выдерживать изоляция обмотки.
2. Напряжение конца обмотки (UК)
Напряжение конца обмотки также является важной характеристикой трансформатора. Оно определяет максимальное напряжение на последней обмотке трансформатора при максимально допустимом токе
Напряжение конца обмотки выбирают с учетом потребности в дополнительной изоляции и безопасности в эксплуатации.
3. Положение начала и конца обмоток
Положение начала и конца обмоток также является важным фактором. От правильного размещения и подключения этих точек зависит соотношение величин напряжений на обмотках. Неправильное подключение может привести к неравномерности распределения напряжений и неконтролируемым эффектам, таким как перегрузка отдельных участков обмоток.
4. Ток начала и конца обмоток
Ток начала обмотки определяется величиной максимального тока, который может протекать через начало обмотки при номинальном напряжении. Ток конца обмотки определяет максимальный ток, который может протекать через конец обмотки при номинальном напряжении.
5. Терминирующие резисторы
Терминирующие резисторы также являются важной характеристикой начала и конца обмоток трансформатора. Они служат для согласования импедансов и предотвращения отражений волн
Правильно подобранные терминирующие резисторы способствуют более эффективной работе трансформатора и снижают возможность возникновения помех и нежелательных отражений.
6. Защита начала и конца обмоток
Защита начала и конца обмоток трансформатора является неотъемлемой частью его конструкции. Она позволяет предотвратить возможные повреждения обмоток, вызванные повышенным напряжением или током. Защита может быть представлена различными элементами, такими как предохранители, релейная защита или другие устройства, которые могут применяться в зависимости от спецификации трансформатора и требований к его безопасности.
| Характеристика | Значение |
|---|---|
| Напряжение начала обмотки (UН) | … |
| Напряжение конца обмотки (UК) | … |
| Положение начала и конца обмоток | … |
| Ток начала обмотки | … |
| Ток конца обмотки | … |
| Терминирующие резисторы | … |
| Защита начала и конца обмоток | … |












